当前位置: 建筑一生 » 技术储备 » 安装工程 » 正文

电气工程量计算好难?快试试这些计算方法

来源:造价通

如有侵权,请联系删除

做安装造价的盆友经常吐槽电气工程量计算是最难的,的确,电气工程从电缆电线的区分到分别计算,从电气桥架到爬墙走线,从防雷接地到弱电智能化,每个环节都是比较复杂且难以弄懂的。

本篇文章整理了电气工程量计算及其方法,盆友们赶紧学一些,帮你突破这个难点。

1、10kV高压架空进户装置
10 kV以下悬式绝缘子XP,以“串”计量;10 kV以下户外高压熔断器WR,以“组”计量;

钢穿通板,以“块”计量;

10 kV以下穿墙导管CLB,以“个”计量;

10 kV以下避雷器FS,以“组”计量;

10 kV以下户内、外支持绝缘子ZA,以“个”计量;

支架、金具,以“kg”计算。

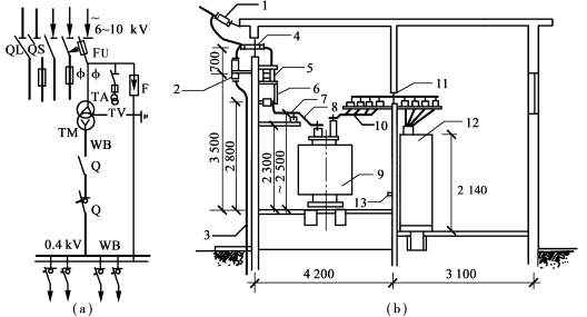
2、变配电装置及设备 
从进户装置起依序计算
图片
3、变压器安装 
计算规则:按不同电压等级、不同容量和不同类型分别以“台”计量。TM安装:不包括变压器油耐压试验及变压器系统调试。

TM分类:冷却方式有油浸式、干式;相数分单相与三相;线圈材质分铜、铝线圈;铁芯分热轧与冷轧硅钢片等。

4、配电装置安装 
断路器(QF)、负荷开关(QL)、隔离开关(QS),断、通正常负荷电路,保护和控制高压电器设备。安装包括所配备的电磁式、弹簧储能式、手动式等操作机构。电流互感器(TA)、电压互感器(TV)作为测量电压、电流、电能及继电保护之用。

计算规则:上述装置均以“台”计量。

5、母线安装 
母线:有变配电装置高压母线和车间配电低压母线,注意区别。常用硬母线:铜(TMY)、铝(LMY) 。

计算规则:单片“延长米”计算。

L母= (母线设计单片延长米长度+母线预留长度)×(1+2.3%)

制作安装损耗—2.3%

6、高压控制设备 
高压控制台、柜、屏,用于发电厂、工矿企业变配电站(所),接受电力和大型高压交流电动机启动、保护的主要设备。目前,国产有固定、手车及活动式三种,型号有GG、GFC、GBC等型。

计算规则:分别按控制屏、继电屏、模拟屏、电源屏、直流屏、控制台及箱式配电室等以“台”计量。

7、低压控制配电设备 
计算规则:成套型动力、照明控制及配电用柜、箱、屏等,不分型号、规格及安装方式,均以“台”计量。进出柜、箱、屏的导线需焊(压)接线端子时,以“个”计量。

高压、低压设备基座、支架:槽(角)钢基座、支架制安按“kg”、“m”计算。

8、电力及控制电缆 
图片
电缆埋地或地沟进户示意L=(l1+l2+l3+l4+l5+l6+l7)×(1+2.5%)

9、电力及控制电缆安装 
计算规则:10 kV以下电力及控制电缆;无论敷设方式用部位,分别以“m”计算。电缆长度以敷设方式和部位的表达式:

电缆长度=(2×端头长+引上下长+直埋地长+电缆沟长+保护管长+钢索长+沿墙长+竖井道长+桥架长+槽架长十梯架长+线道长等+电缆预留量)×(1+2.5%)

电缆端头:制作安装以“个”计量。

10、电缆直埋敷设 
电缆沟土石方,以“m³ ”计算:V=S L,两根电缆每1 m沟长,V=0.45 m 每增加一根电缆,每1m沟增加0.153m³。电缆沟铺砂盖砖:以沟长度“m”计算。

图片
11、电缆沟内敷设 
电缆沟:进人、不进人沟。沟体砌筑:土石方量“m3” ;沟底、壁砌砖 或浇筑“m3”;沟壁、底抹水泥砂浆“m2”;沟盖板制作“m3” ;采购时价值及运费参考《建筑工程预算定额》。

揭、盖电缆沟盖板:“m”计算;

沟内支架制安:钢“kg” 、砼“m3 ”计算。

12、电缆桥架安装 
桥架:分为梯式、托盘式(有孔托盘、无孔托盘),一般由直线段、弯通、三通等附件及支、吊架等构成。计算规则:无论钢质、不锈钢、铝合金、玻璃钢、塑料质桥架,均按“m”计算。包括桥架每段间用5.5~16mm2的电气连通

跨接线及接地线和接地端子的安装。

13、配管工程量 
计算规则:配管以管材质、规格和敷设方式不同(明暗),按“延长米”分别计算,不扣除接线盒(箱)、灯头盒、开关盒所占长度。要领:从配电箱起逐回路进行计算。

方法:水平管,借建筑物平面图墙、柱轴线尺寸进行计算。只能斜向敷设的管,当图纸比例正确时,可用比例尺量算。

14、配管配线的明暗盒 
接线(分线)、插座、开关、灯头等盒按“个”计量。
图片
15、电气配线 
计算规则:照明和动力线路不分品种、规格、型号、敷设方式均按“单线延长米”计算。管穿线长=(配管长度+导线预留长度)×同截面导线根数

常用导线:单芯、多芯;铝芯、铜芯;塑料、橡胶绝缘。

图片
(导线预留长度)
如有侵权,请联系删除 建筑一生 » 电气工程量计算好难?快试试这些计算方法
评论 (0)

本站公众号

contact

建工计算器

contact